BowlingMarket 📞 +7 926 217 7023
BM
БОУЛИНГ МАРКЕТ
Оборудование и запчасти
+7 926 217 7023
БМ
  • QubicaAMF
    • Запчасти пинспоттеров | Pinspotter Parts
    • Оборудование зоны подхода | Front of Center Parts
    • Мини-боулинг | Mini Bowling
    • Крепёж и метизы | Hardware
    • Расходники и уход за дорожками | Supplies & Lane Care
    • Кегли | Bowling Pins
    • Системы подсчёта и управления | Scoring & Management System Parts
  • Brunswick
    • GS-Series Pinsetter Service Parts
    • Lane Machines
    • Framework Bowling Equipment Parts
    • Bowling Service Parts 2023
  • Другие
    • Аксессуары
    • Про Шоп

Закажите услугу специалиста

Выберите соответствующую услугу:

Телефон

Email *

Тема
Маска ввода

или позвоните

+7 926 217 7023

Brunswick GS-Series Pinsetter Service Parts Section B TRANSPORT BAND
• Transport Band Frame Assembly (Long Pit) 14
• Transport Band Boards (Long Pit) 17
• Transport Band Belt (Long Pit) 14
• Deflector Boards and Plates (Long Pit) 16
• Transport Band Assembly (8 mm Side Frames) Short Pit Machines Series 43 through 207 66
• Transport Band Assembly (10 mm Side Frames) Short Pit Machines Series 208 and Above 54
• Transport Band Belt Tensioner Assembly - Left Machine Short Pit Machines Series 43 and Above 24
• Transport Band Belt Tensioner Assembly - Right Machine Short Pit Machines Series 43 and Above 20
Transport Band Frame Assembly (Long Pit)
14 позиций →
Transport Band Frame Assembly (Long Pit)
Transport Band Boards (Long Pit)
17 позиций →
Transport Band Boards (Long Pit)
Transport Band Belt (Long Pit)
14 позиций →
Transport Band Belt (Long Pit)
Deflector Boards and Plates (Long Pit)
16 позиций →
Deflector Boards and Plates (Long Pit)
Transport Band Assembly (8 mm Side Frames) Short Pit Machines Series 43 through 207
66 позиций →
Transport Band Assembly (8 mm Side Frames) Short Pit Machines Series 43 through 207
Transport Band Assembly (10 mm Side Frames) Short Pit Machines Series 208 and Above
54 позиций →
Transport Band Assembly (10 mm Side Frames) Short Pit Machines Series 208 and Above
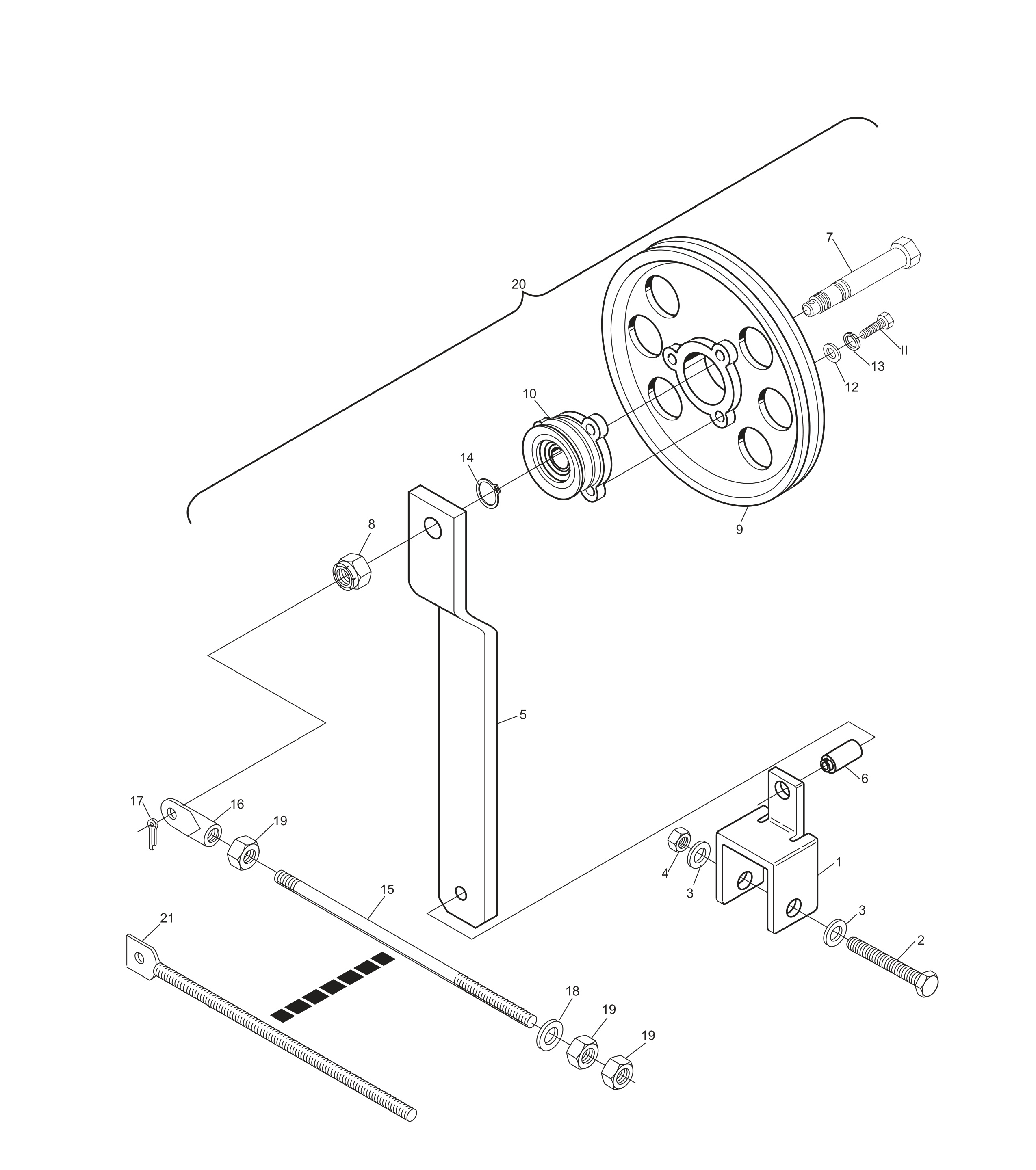
Transport Band Belt Tensioner Assembly - Left Machine Short Pit Machines Series 43 and Above
24 позиций →
Transport Band Belt Tensioner Assembly - Left Machine Short Pit Machines Series 43 and Above
Transport Band Belt Tensioner Assembly - Right Machine Short Pit Machines Series 43 and Above
20 позиций →
Transport Band Belt Tensioner Assembly - Right Machine Short Pit Machines Series 43 and Above
🏠 Главная 📦 Каталог 🛒 Корзина 👤 Кабинет ☰ Меню
Меню
Каталог
QubicaAMF Brunswick Все категории
Услуги
Монтаж и обслуживание Ремонт оборудования Обучение персонала
Информация
О компании Контакты Личный кабинет
📞 +7 926 217 7023 ✉️ mail@bowlingmarket.ru