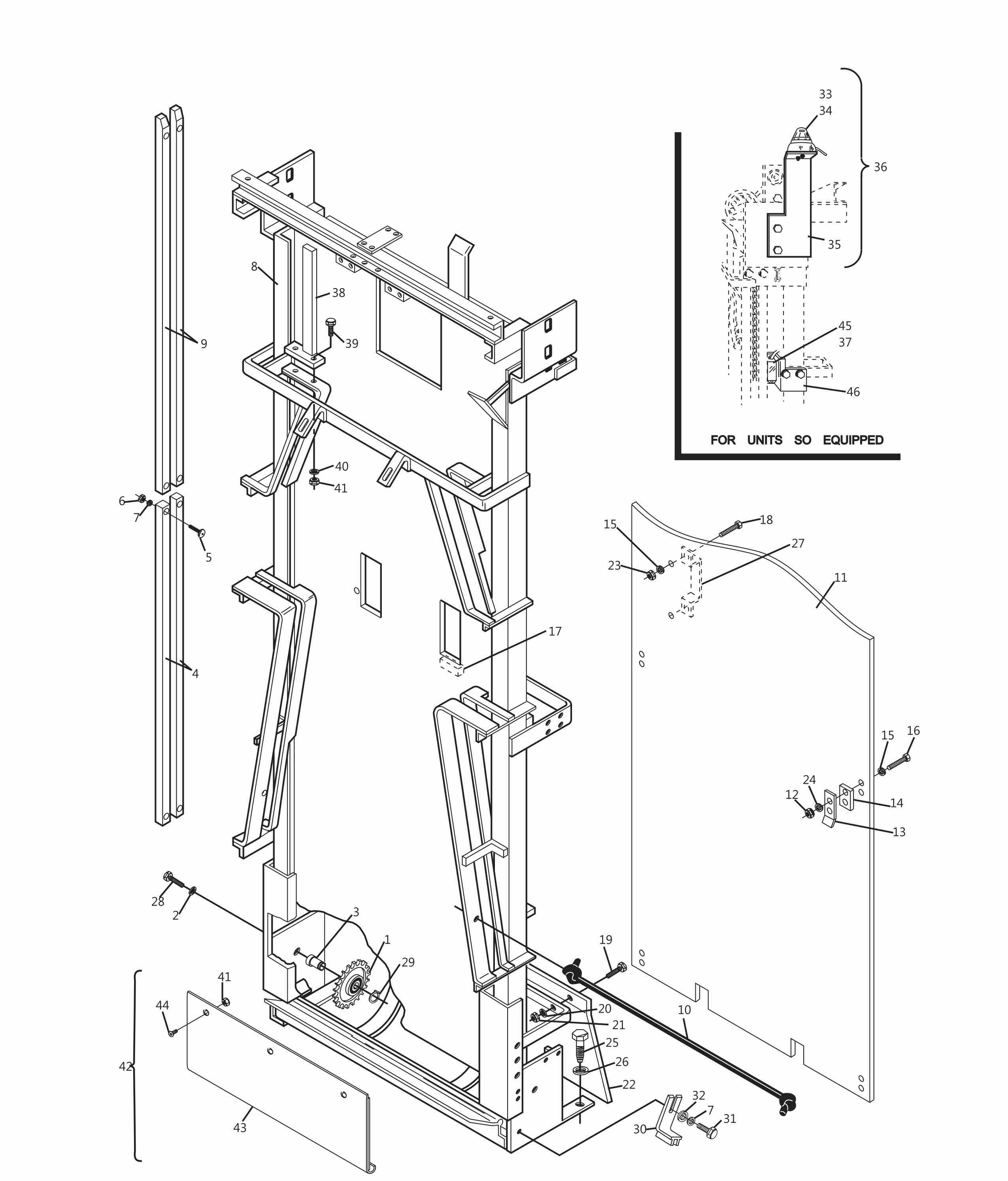
Elevator Frame Assembly
Elevator Drive-Lift Assembly
Dual Feed Pin Chute Assembly
Elevator Assembly - Square Frame Hole Short Pit Machines Series 43 and Above
Elevator Assembly - Round Frame Hole Short Pit Machines Series 43 and Above
Pin Deflector Boards Short Pit Machines Series 43 and Above
Elevator Belt Tensioner Assembly Short Pit Machines Series 43 and Above
©2010 - 2026