| Поз. | Артикул | Фото | Наименование | Наличие |
|---|---|---|---|---|
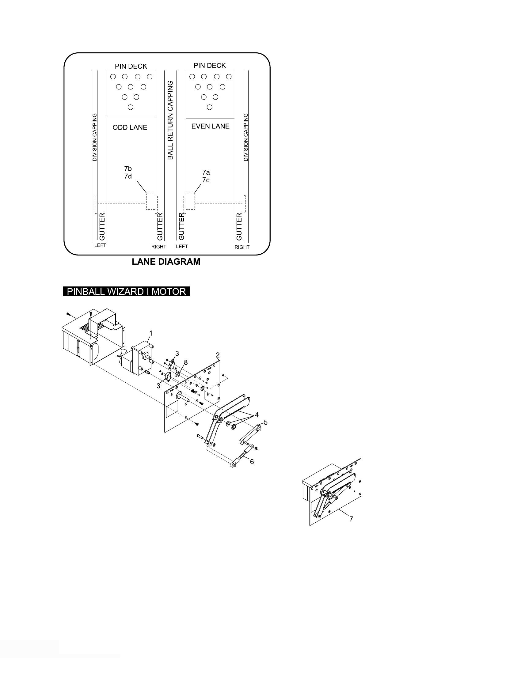
| 1 |
84-860650-115
|
|
Motor 115VAC PBW I |
Предзаказ |
| 1 |
84-860650-230
|
|
Мотор привода авт. бортиков |
Предзаказ |
| 2 |
84-860648-000
|
|
Side Plate PBW I - Odd Lane |
Предзаказ |
| 2 |
84-860649-000
|
|
Side Plate PBW I - Even Lane |
Предзаказ |
| 3 |
11-616020-000
|
|
Микропереключатель |
Предзаказ |
| 4 |
84-860647-000
|
|
Рычаг дет.бортиков |
Предзаказ |
| 4 |
11-191014-001
|
|
Flat Washer (3/8) |
Предзаказ |
| 5 |
84-200540-000
|
|
Рычаг |
Предзаказ |
| 6 |
84-200519-000
|
|
Тяга |
Предзаказ |
| 8 |
84-200523-000
|
|
Копир |
Предзаказ |

©2010 - 2026